手动下展示放料阀
公称通径:40*50/50*80/65*80/80*100*150/150*200
公称压力:PN6/PN10/PN16;CL150(PN20)
操作温度:-17℃~200℃
流量特性:快开
可调比:/
泄漏等级:ANSI B16.104: IV、V、VI
阀体材质:WCB/WCC/LCB/LCC;WC6/WC9;CF8/CF8M;4A/5A等
阀内件材质:304+ST/304+RTFE等
填料材质:PTFE, 柔性石墨
产品特点
上展式/下展式放料阀是一种特殊的单座调节阀,该阀阀体采用一体式直流Y型结构,阀内腔无阻挡流道,内表经喷砂处理,阀门无死角。适用于精细化工、制药等行业对易沉淀或含有颗粒的流体的通断控制。
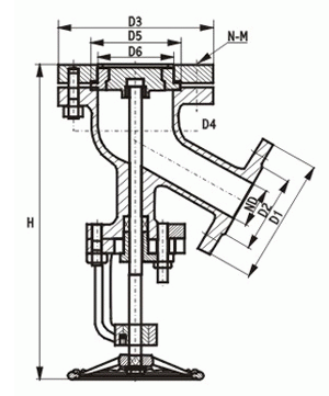
连接尺寸
| DN | 上法兰 | 上法兰 | 下法兰 | 密封座 | ||
| D1 | D2 | D3 | D4 | D5 | D6 | |
| 25 | 115 | 85 | 135 | 100 | 70 | 40 |
| 32 | 135 | 100 | 145 | 110 | 75 | 55 |
| 40 | 145 | 110 | 160 | 125 | 100 | 65 |
| 50 | 165 | 125 | 180 | 145 | 85 | 70 |
| 65 | 180 | 145 | 195 | 160 | 135 | 90 |
| 80 | 195 | 160 | 215 | 180 | 155 | 130 |
| 100 | 215 | 180 | 245 | 210 | 195 | 135 |
| 125 | 245 | 210 | 280 | 245 | 180 | 145 |
| 150 | 280 | 240 | 335 | 295 | 210 | 185 |
| 200 | 335 | 295 | 405 | 355 | / | / |
随着经济高速发展,市场竞争越来越激烈,用户对阀门产品的要求也越来越多,并且对服务的要求也越来越高;我司销售部门为适应市场发展的要求,专业设立了服务培训组,为服务质量添加完善的工作,我司的售前、售中、售后服务工作经由专业的销售员来完成。
一、冠环阀门售前服务:
做到技术与销售的良好结合,让用户的每一次采购都有较好的服务体验。
①进行采购前产品技术沟通和交流,主动给予建议。
②在进行产品型号选择时考虑是否成本合理工矿效率等问题。
③不能达到工矿要求时,根据客户的特殊要求,安排设计师合理改善。
二、冠环阀门售中服务:
尊重每位用户;给用户一份省心,放心的整体价值服务。
①进行性价比:比价格,比质量,比服务,反思是否有不做到位的地方。
②严格按相关标准和技术要求进行阀门的检测和试验。
③在合作过程中,依照合同,保质保量准时交货,随时保持与用户联系。
④定制期间,相关技术人员可来我司进行产品监造和检验,同时,我司会提供该产品的结构图及详细文件资料,来做监造文件。
⑤对特殊工矿或定做的产品,可协商专业技术员亲临现场指导。
⑥我公司在发货前以电话进行产品型号、口径、数量、件数的确认。
三、冠环阀门售后服务:
好的服务铸就好的企业让客户无后顾之忧。
①按合同要求提供产品的合格证、检验报告、安装说明书等。
②顾客在验收产品过程中,如出现与合同要求不符时,我司接到顾客通知后两小时内给予处理。
③我司提供十二个月的产品质保期,时间从验收合格之日起计算。
④在正确安装和使用下,出现产品质量问题,本公司将负责到底。
冠环阀门包修包换承诺:
①在正常的储运、安装、保养、使用条件下,因产品的质量问题不能正常使用时,提供三保四包: 保质、保量、保及时、包修、包换、包退、包损失。
②在接到质量信息反馈时,将在24小时内提出处理意见,并做到100小时内赶到现场做处理。
③可根据用户需求协商提供备品、备件和安装、调试、维修服务。
为了让您采购到满意的阀门,减少阀门订购过程出现的问题,也是提高我们工作人员的工作效率。我们希望您提供详尽的订货需求,以便我们为您提高更周到的服务!
阀门订货说明:
1、①产品名称与型号,②公称直径,③阀体材质,④公称压力,⑤使用介质,⑥使用温度,⑦驱动方式,⑧是否带附件,以便我们的为您正确选型。
2、如有特殊要求时请在订购产品时注明。
3、若已经由设计单位选定的型号,请按型号直接向我司销售部订购。
4、当使用的场合非常重要或环境比较复杂时,请您尽量提供设计图。
欢迎您访问我们的网站,如有任何疑问,您可以致电给我们,我们一定会尽心尽力为您提供高品质的服务,详细咨询:15000098987。


我要咨询








021-67895388
shghfmc@163.com